OPTOISOLATORANDOPTOCOUPLERINTERFACECIRCUITS Circuit Diagram Optocoupler Example: Isolating A Motor Circuit From Your Arduino. Sometimes you need to control a high current from a microcontroller circuit, such as an Arduino.Although it's possible to do with a transistor, using an optocoupler is safer as it ensures that there is no noise or high-voltage spikes coming from the high-current circuit.. In the example below, an Arduino Uno controls a DC

The optocoupler translates the signal on its input into an infrared light beam using an infrared light emitting diode (LED). The infrared beam crosses a gap inside the optocoupler package to a light-sensitive device (e.g., photodiode, phototransistor, etc.), which changes the light back into a signal again and sends it out of the optocoupler as An optocoupler, also known as an optoisolator, is an electronic component that transfers electrical signals between two isolated circuits by using light. The Noyito MT-301R4P-P YSZK V1.4 is a specific model of optocoupler that provides electrical isolation and noise reduction, which is crucial in many applications where signal integrity and

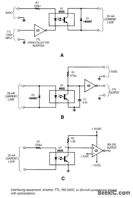
Isolator Circuit: A Comprehensive Guideline Circuit Diagram
Simple transistors can be used but due to its neglecting the noise factor the optocoupler can be used as switching too. In signal Isolation, the optocoupler is faster and widely used from the previous century. Optocoupler is also used for a basic noise coupling circuit to keep the circuit in use without any disconnectivity. In a circuit, an optocoupler is used to switch a system using a digital signal or using a very low voltage, but if there is spikes of voltage or surge current occurs then the whole output circuit will be non-affected because the optocoupler gets damaged only, and stops the passes the current to next portion. Isolation of high-voltage and The picture above shows the circuit you will need to build.. THE PARTS YOU WILL NEED: 1. 2 X 220ฮฉ resistors. 2. 1 X 2N2222 transistor (or any similar one that will handle the current of the devise you want to power). 3. 1 X SHARP PC817 optocoupler (or any similar one will work). 4. 1 X PCfan or motor you want to control (make sure it will handle the power supply your using) .

In this application, the optocoupler is used to detect the operation of the switch or another type of digital input signal. This is useful if the switch or signal being detected is within an electrically noisy environment. The output can be used to operate an external circuit, light or as an input to a PC or microprocessor. An Optotransistor DC An analog optocoupler is an excellent solution for many analog signal isolation problems. It can be used to isolate analog signals in a wide variety of applications that require good stability, linearity, bandwidth, and low cost. and low cost. By appropriate design of the application circuit, it can be of operated in many different modes This project focuses on Power and Signal isolation in low voltage DC circuits. If you are unfamiliar with isolation principles, Isolated Signal: There are several different ways to isolate a signal, but in this project we'll use an opto-isolator (also known as an optocoupler). Opto-isolators have been a staple in the engineering world for
